Schreiben Sie uns eine E-Mail

sdepochwater@hotmail.com

Nachricht

​Die Eigenschaften und Klassifizierung von Absperrschiebern


Ein Schieberventil, auch Schieberplattenventil genannt, ist ein Ventil, dessen Öffnungs- und Schließteil eine Schieberplatte ist und das von einem Ventilschaft angetrieben wird, um die Schieberplatte auf und ab zu bewegen.


Die Eigenschaften von Absperrschiebern


1) Vorteile von Absperrschiebern: Geringer Flüssigkeitsströmungswiderstand; Das zum Öffnen und Schließen erforderliche Drehmoment ist gering. Die Fließrichtung des Mediums ist uneingeschränkt. Beim Öffnen und Schließen tritt kein Wasserschlag auf. Die Formstruktur ist relativ einfach und der Herstellungsprozess ist besser.


2) Nachteile von Absperrschiebern: Sie haben relativ große Außenabmessungen und Einbauhöhen und benötigen einen erheblichen Einbauraum. Beim Öffnungs- und Schließvorgang kommt es zu einer relativen Reibung an der Dichtfläche, die zu einem erheblichen Verschleiß führt. Selbst bei hohen Temperaturen ist es anfällig für Kratzer. Absperrschieber verfügen in der Regel über zwei Dichtflächen, was die Verarbeitung, das Schleifen und die Wartung erschwert.


Absperrschieber haben ein breites Anwendungsspektrum. Es wird üblicherweise für Wasserversorgungsleitungen mit einem Nenndurchmesser von DN50 oder mehr verwendet.



Klassifizierung von Absperrschiebern


Absperrschieber können nach Verbindungsmethoden in Gewindeschieber, Flanschschieber und geschweißte Absperrschieber unterteilt werden. Je nach Konstruktionsmerkmalen können sie in Paralleltorplatten und Keiltorplatten unterteilt werden. Basierend auf der Struktur der Ventilspindel können sie in Schieberventile mit unterschiedlicher Spindel (Hubspindel) und Schieberventile mit verdeckter Spindel (Drehspindel) eingeteilt werden.




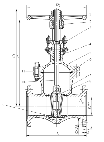
1) Paralleler Doppelschieber mit offenem Schaft: Der parallele Doppelschieber mit offenem Schaft ist in Abbildung 1 dargestellt. Sein Schieber besteht aus zwei symmetrischen und parallelen Scheiben. Wenn der Schieber abgesenkt wird, bewirkt der obere Keil an der Unterseite des Schiebers, dass sich die beiden Schieber nach außen ausdehnen und fest gegen den Ventilsitz drücken, wodurch das Ventil fest verschlossen wird. Wenn das Tor angehoben wird, löst sich der Keil von der Scheibe. Sobald die Scheibe eine bestimmte Höhe erreicht hat, wird der Keil durch die Vorsprünge an der Scheibe angehoben und hebt sich zusammen mit dem Tor. Dieses Ventil hat einen einfachen Aufbau. Die Bearbeitung, das Schleifen und die Pflege der Dichtfläche sind einfacher als beim Keilschieber. Allerdings ist seine Dichtleistung relativ schlecht. Es ist für Medien mit einem Druck von nicht mehr als 1,0 MPa und einer Temperatur von nicht mehr als 200℃ geeignet.



Abbildung 1: Paralleler Doppelschieber mit steigender Spindel


1. Handrad 2- Ventilschaftmutter 3- Ventilschaft 4 - Stopfbuchse 5 - Packung 6 - Ventildeckel

7 – Dichtung 8 – Dichtungsring 9 – Ventilkörper 10 – Anguss 11 – Oberer Keil


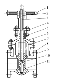
2) Keilschieber mit verdecktem Schaft: Wie in Abbildung 2 dargestellt, ist die Dichtfläche dieses Ventils geneigt und bildet einen Winkel. Je höher die Mediumstemperatur ist, desto größer ist der Winkel. Keilanschnittplatten werden in Einzelanschnittplatten, Doppelanschnittplatten und elastische Anschnittplatten eingeteilt, wie in den Abbildungen 2a, b und c dargestellt. Die Bearbeitung, das Schleifen und die Wartung von Keilanschnittplatten sind komplizierter als die von Parallelanschnittplatten, sie weisen jedoch eine bessere Dichtleistung auf.


Abbildung 2: Verdeckter Schaft-Keilschieber


a) Einzelschieberplatte mit Keil, b) Doppelschieberplatte mit Keil, c) elastische Schieberplatte mit Keil


1. Handrad 2. Anzeige 3. Abdeckung 4. Stopfbuchse 5. Packung 6. Ventildeckel

7- Ventilschaft 8 - Ventilschaftmutter 9, 12 - Dichtungsring 10 - Ventilkörper 11 - Schieberplatte 13 - Dichtung


Der elastische Absperrschieber ist in Abbildung 3 dargestellt. Er bietet die Vorteile einer einfachen Struktur und einer zuverlässigen Verwendung und kann eine kleine elastische Verformung erzeugen, die die Dichtheit des Verschlusses erhöht.



Abbildung 3 Elastischer Absperrschieber


1. Handrad 2 – Ventilschaftmutter 3 – Stopfbuchse 4 – Packung 5 – Ventildeckel 6 – Dichtung

7- Ventilkörper 8 Schieberplatte 9 - Dichtungsring 10 - Ventilschaft 11 - Verbindungsschraube


Bei einem Absperrschieber mit steigendem Schaft passt das Gewinde des Ventilschafts zu einer Überwurfmutter, die mit einem Handrad ausgestattet ist. Das untere Ende des Ventilschafts hat einen quadratischen Kopf, der in die Schieberplatte eingebettet ist. Wenn das Handrad gedreht wird, bewegen sich der Ventilschaft und die Schieberplatte auf und ab. Beim Öffnen ragt der Ventilschaft aus dem Handrad heraus. Der Vorteil besteht darin, dass der Öffnungsgrad des Ventils anhand der ausgefahrenen Länge des Ventilschafts beurteilt werden kann und der Ventilschaft nicht in direkten Kontakt mit dem Fördermedium kommt. Der Nachteil besteht darin, dass das Ventil eine große Öffnungshöhe hat und am Einbauort ausreichend Platz vorhanden sein muss, damit der Ventilschaft nach außen ragen kann. Beachten Sie diesen Punkt unbedingt bei der Montage vor Ort. Das Außengewinde des Ventilschafts des Unterputz-Absperrschiebers passt zu dem im Ventil eingebetteten Innengewinde. Wenn daher das Handrad gedreht wird, dreht sich der Ventilschaft, wodurch sich der Schieber im Inneren des Ventils auf und ab bewegt, der Ventilschaft kann sich jedoch nicht auf und ab bewegen. Der verdeckte Schaftschieber nimmt bei der Installation weniger Platz ein. Das Fördermedium kommt direkt mit dem Ventilschaft in Kontakt und der Öffnungsgrad des Ventils kann durch den Ventilschaft nicht beurteilt werden. Unabhängig davon, ob es sich um einen Absperrschieber mit steigender Spindel oder um einen Absperrschieber mit nicht steigender Spindel handelt, muss der Absperrschieber horizontal installiert werden. Der Ventilschaft sollte senkrecht nach oben und nicht geneigt sein. Es ist strengstens verboten, den Ventilschaft nach unten zu montieren.



Ähnliche Neuigkeiten
Hinterlassen Sie mir eine Nachricht
X
Wir verwenden Cookies, um Ihnen ein besseres Surferlebnis zu bieten, den Website-Verkehr zu analysieren und Inhalte zu personalisieren. Durch die Nutzung dieser Website stimmen Sie der Verwendung von Cookies zu. Datenschutzrichtlinie
Ablehnen Akzeptieren